>点击下载科技<    >点击购买科技<

三角洲侧向红点瞄准镜怎么用的(详细教我一下三角洲侧向红点瞄准镜的使用)

三角洲侧向红点瞄准镜的使用方法可分为安装、设置及实战操作三个部分,具体如下:

三角洲侧向红点瞄准镜怎么用的(详细教我一下三角洲侧向红点瞄准镜的使用)


一、安装侧瞄镜

  1. 装备安装
    在游戏中需确保武器已装配‌侧置全景红点瞄准镜‌,通常需通过武器改装界面完成‌。
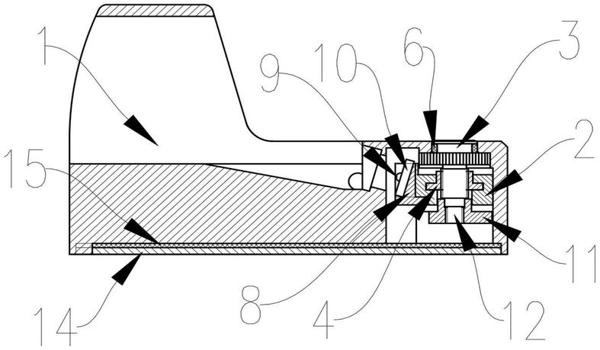
    (现实操作:若涉及真实步枪安装,需打开左侧盖子,拉出激光全息侧瞄并沿导轨推进至合适位置,调节螺丝校准准星后固定‌。)

二、游戏内设置

  1. 进入设置界面
    在游戏主界面或对局中暂停,点击右上角“设置”→“控制”→“瞄准设置”‌。
  2. 选择切换模式
    • 按住模式‌:长按瞄准键(默认左键)启用侧瞄镜‌。
    • 切换模式‌:单击瞄准键即可在侧瞄和主瞄之间切换‌。
  3. 自定义快捷键
    可在“按键设置”中将侧瞄切换键修改为习惯的按键(如“V”键或“左Shift”)‌。

三、实战操作技巧

  1. 基础切换
    • 开镜后,通过预设的快捷键(如“V”键)快速切换主/侧瞄镜‌。
    • 部分视角需先按“Tab”切换至第一人称,再按“左Shift”切换侧边视角‌。
  2. 效率优化
    • 启用‌一键开镜‌功能,在按键设置中选择“全部开启”模式,缩短操作时间‌。
    • 开镜过程中可直接射击,利用电脑屏幕准心科技瞄准‌。
  3. 场景适配
    • 近距离战斗优先使用侧瞄镜(红点视野更开阔),中远距离切换主瞄镜(高倍率)‌。

注意事项

  • 建议在训练场反复练习切换操作,提升熟练度‌。
  • 若侧瞄镜未生效,需检查是否安装正确或快捷键冲突‌。

(注:以上内容默认针对游戏内操作,现实武器使用需遵循专业指导。)